óÌÅÄÕÀÝÁÑ
|
óÐÒÁ×ÏÞÎÉË ÐÏ ÐÏÌÕÐÒÏ×ÏÄÎÉËÏ×ÙÍ
ÄÉÏÄÁÍ
|
ãÏËÏÌÅ×ËÁ ÄÉÏÄÏ×
|
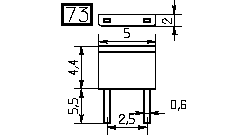
![]() çä107, çä113, 2ä235, çä401, ëä407, 2ä420, ëä503, çä507, çä508, ëä923, 2÷110, 2÷117, 2÷119, ë÷136, 2ó108á-ò, 2ó133á,÷,ç, ëó133á, 2ó139á, ëó139á, 2ó147á,÷,ç, ëó147á, 2ó156á,÷,ç, ëó156á, 2ó168á, ëó168á, ëó415á, 2ó117, 2ó123 |
![]() 1ã104áé |
![]() 2ä102, ëä103, ëä104 |
![]() ëä106, 2ä217 |
![]() 2ä108, 2ä207, ëä411, 2ä416, 2÷105, 2ó401á, 2ó401âó, 2ó408, 2ó501áó, 2ó501â, 2ó501âó |
![]() ëä201, 2ä203 |
![]() 2ä202 |
![]() 2ä204, 2ä206, 2ä210, 2ä219, 2ä230, 2ä231, 2ä251, 2ä252, 2ä2995, 2ä2998, 2ä412, áä425, 2÷103, 2÷106, 2ó801á, 2ó802, 2ó803, 2ó901 |
![]() 2ä213, 2ä245, 2ä2990, 2ä2997, 2ä2999 |
![]() ëä208, ëä209, 2ä215, ëä221 |
![]() 2ä216, 2ä220, 2ä234 |
![]() 2äó408 |
![]() ëä413, 2ä419, ëä512, ëä514, ëä520, 2ä922 |
![]() ëä906, 2ã301 |
![]() 2ã101, 2ã103, 2ã106, ëã114, ëã117, ëã118 |
![]() 2ã102 |
![]() 2ã108, 2ã110 |
![]() ëã201, 2ã202 |
![]() 2ã203 |
![]() áä110, 2ä502 |
![]() áä110 |
![]() áä112 |
![]() ëä401, çä403, ëä504, çä511, 2ä809 |
![]() çä404áò |
![]() ëä105 |
![]() ëä109 |
![]() ëäó111, ë÷ó111 |
![]() ëä205 |
![]() 2ä212, 2ä228, 2ó402á-ç, 2ó502á-î |
![]() ëä409, ëä512-1, ëä514-1, ë÷109, ë÷121, ë÷122, ë÷123, 2÷124, 2÷125, ë÷127, ë÷130, ë÷132, 2÷133, ë÷134, ë÷138, ë÷142, ë÷144-1 |
![]() ëä410 |
![]() ëä910, ëä911 |
![]() ë÷128, ë÷129, ë÷143, ëä424, ëä509, 2ä510, ëä521, 2ä522, ëä805, 2ä926, 2ä927á, ëó115á, ëó121á |
![]() ëä523á,â |
![]() ëä523÷,ç |
![]() 2ä907, 2ä918 |
![]() 2ä908, ëä917 |
![]() áä516 |
![]() 2ä237, ëä513, ëä518, ë÷139 |
![]() ëä526 |
![]() 2ä115-1, 2ä116-1 |
![]() 2ä120-1, ë÷115 |
![]() 2ä123-91 |
![]() 2ä218 |
![]() 2ä222-ó |
![]() ëä227, 2ä232, ëä238-ó |
![]() 2ä236 |
![]() 2ä423, ëä529 |
![]() 2ã112 |
![]() 2ã113-1 |
![]() 2ã116, 2ã119 |
![]() ëä223, ëä226, 2ä249, ëä529, ëó511 |
![]() 2ä121, ëä243, ëä247, ëä808, ëä810, 2ó411á,â, 2ó516á-÷ |
![]() 2ä239, ëä244, 2ä2994 |
![]() ëä409-9, 2÷112-9, 2÷122-9, 2÷124-9, 2÷130-9, 2÷134-9 |
![]() ëä421, 2ä524, 2ä630, 2ä806, 2ä921, 2ä924, 2ä925 |
![]() 2ä101 |
![]() ëä126, ëä127, 2÷102, 2÷104 |
![]() ëã111-á1 |
![]() ëã407 |
![]() ëã410 |
![]() ëäó627 |
![]() ëäó628 |
![]() ëä629-ó, ëä704áó, 2ä706ó-9, 2ä707ó-9, 2ä803ó-9 |
![]() 2äó807 |
![]() 2÷118 |
![]() ëä248, ëä250, 2ä253, 2÷113 |
![]() ë÷101 |
![]() ë÷ó120 |
![]() 2÷112, 2÷114-1 |
![]() ë÷116, ë÷140-1 |
![]() 2ä802, ëä901, ëä904 |
![]() ë÷131, ë÷135 |
![]() 2ó101 |
![]() 2ó107, 2ó113, 2ó119, 2ó190â-ô, ëó190ó-æ, 2ó433á, 2ó439á, 2ó447á, 2ó456á, 2ó468á, 2ó482á, 2ó510á, 2ó512á, 2ó515á, 2ó518á, 2ó522á, 2ó524á, 2ó527á, 2ó530á, 2ó536á, 2ó551á, 2ó591á, 2ó600á, ä818 |
![]() ëó162á, ëó168÷, ëó170á, ëó182á, ëó191á, ëó210â, ëó211é, ëó212÷, ëó213â, ëó533á |
![]() 2ó175ö,ã, 2ó182ö,ã, 2ó191ö,ã, 2ó210ö,ã, 2ó211ö,ã, 2ó212ö,ã, 2ó213ö, 2ó215ö, 2ó218ö, 2ó220ö, 2ó222ö, 2ó224ö, ëó405á, ëó406á, ëó407á-ä, ëó409á, ëó412á, ëó413â, ëó508á-ä, ë÷146, ëó162á-2, ëó168÷-2, ëó175á-2, ëó182á-2, ëó191á-2, ëó210â-2, ëó213â-2, ëó506á |
![]() 2ä118-1 |
![]() ëã105 |
![]() ëã109 |
![]() 2ä225-ó, 2ä229-ó |
![]() 2ä528 |
![]() ë÷107 |
![]() 2ó483 |
![]() ëó620, ëó630, ëó650, ëó680, 2ó920, 2ó930, 2ó950, 2ó980 |
![]() ëó106á |
![]() ëó211â,÷,ç,ä |
![]() ëó515ç, ëó520÷, ëó524ç, ëó532÷, ëó547÷ |
![]() ëó539ç, ëó568÷, ëó582ç, ëó596÷ |
![]() 2ä708, ëó433á-1, ëó439á-1, ëó447á-1, ëó451á, ëó456á-1, ëó468á-1, ëó482á-1, ëó509, ëó510á-1, ëó512á-1, ëó515á-1, ëó518á-1, ëó522á-1, ëó527á-1, ëó530á-1, ëó551á-1, ëó600á-1 |
![]() 2ä255-5 |
![]() 2ä260-5 |
![]() ëä2991 |
![]() ëä257, ëä258 |
![]() ë÷144, ëä532, ëä710, ëä711 |
![]() ëó515ç-2, ëó520÷-2, ëó524ç-2, ëó531÷-2, ëó539ç-2, ëó547÷-2, ëó568÷-2, ëó582ç-2, ëó596÷-2 |
![]() ëó122 |
![]() 2ä254 |
![]() 2ó414á, 2ó416á, 2ó514á-÷, 2ó517á-ç, 2ó521á, 2ó602á, 2ó603á-â, 2ó604á-â |
ëÏÚÁË ÷ÉËÔÏÒ òÏÍÁÎÏ×ÉÞ, îÏ×ÏÓÉÂÉÒÓË,
1-ÉÀÎÑ-2014 Ç.
|
|
|