Ускорители
электронов серии ЭЛВ
Состояние, применение, развитие
В представленной работе приведены характеристики мощных
ускорителей электронов непрерывного действия, описаны основные системы
ускорителя и широкий набор дополнительных устройств, расширяющих диапазон
применения ускорителей, показаны направления дальнейшего развития.
Основные параметры ускорителей ЭЛВ
Начиная с 1971 года Институт ядерной физики СО РАН разрабатывает
и производит ускорители электронов типа ЭЛВ для применения
их в промышленных и исследовательских радиационно-технологических установках.
Ускорители типа ЭЛВ построены с использованием унифицированных систем и
узлов, что позволяет с минимальными затратами адаптировать их под конкретные
требования заказчика по основным параметрам, таким как диапазон энергий,
мощность в пучке ускоренных электронов, длина выпускного окна и т.д.. Конструктивные
и схемные решения предусматривают длительную непрерывную и круглосуточную
работу ускорителей в условиях промышленного производства. Отличительными
качествами ускорителей ЭЛВ являются простота конструкции, удобство в эксплуатации
и надежность в работе.
Институт предлагает серию ускорителей электронов
типа ЭЛВ, которые перекрывают диапазон энергий от 0.2 до 2.5 МэВ,
с током пучка ускоренных электронов до 200 мА и максимальной мощностью
до 160 кВт. К настоящему времени поставлено как внутри страны, так и за
рубежом более 70 ускорителей, а их суммарная наработка превышает
500 ускорителе-лет. Основные параметры ускорителей ЭЛВ приведены ниже:
|
|
Диапазон энергий, МэВ
|
Мощность в пучке, кВт
|
Максимальный ток пучка, мА
|
|
ЭЛВ - мини
|
0.2-0.4
|
20
|
50
|
|
ЭЛВ-0.5
|
0.4-0.7
|
25
|
40
|
|
ЭЛВ-1
|
0.4-0.8
|
25
|
40
|
|
ЭЛВ-2
|
0.8-1.5
|
20
|
25
|
|
ЭЛВ-3
|
0.5-0.7
|
50
|
100
|
|
ЭЛВ-4
|
1.0-1.5
|
50
|
40
|
|
ЭЛВ-6
|
0.8-1.2
|
100
|
100
|
|
ЭЛВ-8
|
1.0-2.5
|
90
|
50
|
|
ЭЛВ-6М
|
0.75-1.0
|
160
|
200
|
|
ФАКЕЛ
|
0.5-0.8
|
500
|
800
|
|
ЭЛВ-12
|
0.6-1.0
|
400
|
400
|
Три нижние строчки этой таблицы занимают ускорители
нового поколения. При относительно невысокой энергии они имеют большую
мощность. Их конструкция ориентирована, главным образом, на решение экологических
проблем .
Конструктивное исполнение
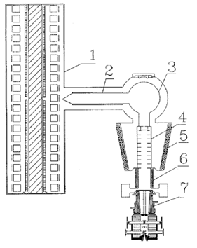
Общий вид ускорителя типа ЭЛВ с фольговым выпуском показан
на рис.2.
Внутри котла, заполненного элегазом, расположены:
первичная обмотка, высоковольтный выпрямитель с встроенной внутрь ускорительной
трубкой, высоковольтный электрод и блок управления инжектором. Именно расположение
ускорительной трубки внутри колонны высоковольтного выпрямителя делает
ускорители ЭЛВ наиболее компактными среди машин своего класса. К днищу
котла прикреплены элементы вакуумной системы с выпускным устройством.
Электроны, эмитированные катодом, расположенным на верхнем конце ускорительной
трубки, на выходе из ускорительной трубки имеют полную энергию -
eUo. Пройдя сквозь элементы вакуумной системы они попадают
в выпускное устройство, где с помощью электромагнитов развертки равномерно
распределяются по фольге и выводятся в атмосферу. Облучаемый материал транспортируется
под рамкой выпускного окна. Рис.1 дает представление о габаритных размерах
ускорителей серии ЭЛВ, на рис.3 приведена упрощенная электрическая схема
ускорителя. Рис.4 - ускоритель ЭЛВ-4 в горизонтальном исполнении, а рис.5
- проект ускорителя ЭЛВ-6 в транспортируемом варианте.
Рис.1: Габаритные размеры ускорителей серии ЭЛВ
Рис.2: Общий вид ускорителя ЭЛВ-4.
1 - сосуд; 2 - первичная обмотка; 3,4 - магнитопроводы; 5 - выпрямительные
секции; 6 - ускорительная трубка; 7 - блок управления инжектором; 8 - высоковольтный
электрод; 9 - инжектор; 10, 11 - оптические каналы управления инжектором;
12 - делитель секции; 13 - блок конденсаторов; 14 - делитель энергии; 15
- вакуумный затвор; 16 - выводы первичной обмотки; 17,18 - катушки разверток;
19 - выпускное устройство; 20 - рамка выпускного окна; 21 - вакуумные насосы;
22 - крестовина; 23 - вакуумный затвор; 28 - основание высоковольтного
электрода; 29 - магнитная линза; 30 - высоковольтный экран; 32 - клемник
Рис. 3: Упрощенная электрическая схема ускорителя ЭЛВ.
1- катод электронной пушки, 2 - ускорительная трубка, 3 - электронный
пучок, 4 - катушки системы формирования растра, 5 - выпускное устройство,
6 - титановая фольга, 7 - тиристорный ключ, 8 - система управления ( ССЭ
- система стабилизации энергии, ССТ- система стабилизации тока, СФР - система
формирования растра, МИИС - модульная информационно-измерительная система,
ЭВМ - управляющий компьютер, УСП - система управления силовым питанием).
ПЧ - преобразователь частоты, БУИ - блок управления инжектором
Рис. 4: Ускоритель ЭЛВ-4 в горизонтальном исполнении
Горизонтальная версия высоковольтного выпрямителя этого
ускорителя была изготовлена и на ее основе в Институте сделан ионный имплантер.
Рис. 5: Ускоритель ЭЛВ-6 в транспортируемом варианте.
1 - ускоритель; 2 - система охлаждения фольги; 3 - газовая система;
4 - силовой шкаф; 5 - система
управления; 6 - вакуумная система; 7 - преобразователь частоты
Этот проект, к сожалению, так и не был реализован
по ряду причин нетехнического порядка.
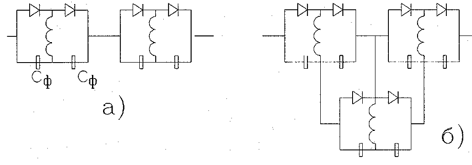
Высоковольтный выпрямитель
Источник высокого напряжения представляет собой каскадный
генератор с параллельной индуктивной связью. Внутри первичной обмотки установлена
колонна выпрямительных секций. Электрическая схема секции приведена на
рис.6. Катушка вторичной обмотки содержит 3000 витков, а максимальное напряжение,
индуцируемое на ее концах составляет 20 кВ. Это напряжение выпрямляется
по схеме с удвоением напряжения. Таким образом выходное напряжение выпрямительной
секции составляет 40 кВ. Между собой выпрямительные секции соединяются
либо последовательно (рис.6а), либо последовательно-параллельно (рис.6б).
Рис. 6: Схема выпрямительной секции ускорителей ЭЛВ и способы их
соединения.
Выпрямители с последовательным соединением секций
более высоковольтны, а с последовательно-параллельным - более сильноточны.
Колонна выпрямительных секций заканчивается высоковольтным электродом,
внутри которого располагается блок управления инжектором и специальная
катушка для его электропитания.
Отметим, что в отличие от обычных трансформаторов
центральный магнитопровод в нашей конструкции отсутствует. Данное обстоятельство
существенно упрощая конструкцию источника высокого напряжения практически
не сказывается на эксплуатационных характеристиках выпрямителя благодаря
удачной конструкции первичной обмотки, наличию качественной системы стабилизации
энергии и относительно низкому витковому напряжению (6В/виток). Величина
удельной мощности трансформатора в ускорителях ЭЛВ составляет около 40
кВт/метр.
Применение малоиндуктивных конденсаторов К-15-10,
продуманная схема межсекционных соединений и наличие демпфирующих сопротивлений
обеспечивают надежную защиту элементов высоковольтного выпрямителя от перенапряжений
при пробоях как вакуумной так и газовой изоляции. Вообще говоря, пробой
в ускорителях ЭЛВ - явление чрезвычайно редкое, однако при конструировании
ускорителей ( а этот принцип неуклонно выполняется и сейчас) мы исходили
из того, что даже большое число пробоев (сотни и тысячи) не должно приводить
к повреждениям высоковольтного выпрямителя.
Практика подтвердила высокую надежность высоковольтного
выпрямителя. Единственная причина отказов в источнике высокого напряжения
- отказы конденсаторов К-15-10 из-за микроразрядов. Поэтому предварительная
отбраковка конденсаторов позволяет существенно повысить надежность выпрямителя.
Ускорительная трубка
Общий вид ускорительной трубки показан на рис.7. Аппертура
канала составляет 100 мм. Этим обеспечиваются хорошие вакуумные условия
в районе катода, а следовательно и большой срок его службы.
Рис.7: Общий вид ускорительной трубки
1 - Катод
2 - Подогреватель катода
3, 4 - электроды
5 - Экранирующие кольца
6 - Магнитная линза
7 - Керамика
Внешний диаметр изолятора - 205 мм, а внутренний
- 180 мм. Шаг по электродам - 21 мм. 20 мм кольца из керамики УФ-46 соединяются
с электродами либо с помощью высокомолекулярного клея ПВА, либо посредством
термодиффузионной сварки. Для устранения влияния переменного магнитного
поля снаружи трубка экранирована короткозамкнутыми медными кольцами. Для
экранировки поперечной составляющей магнитного поля внутрь колец
вставлено несколько слоев трансформаторного железа.
Разнос потенциала по электродам трубки осуществляется
высокомнымделителем. Типичная величина тока делителя трубки
- до 50 mА.
Распределение напряжения - равномерное, за исключением
верхней части, где величина резисторов определяется исходя из условий максимальной
электрической прочности трубки (фокусировка частиц на выходе трубки). Резисторы
делителя укреплены непосредственно на электродах. Максимальный рабочий
градиент в трубке составляет 10 кВ/см, однако для режимов длительной непрерывной
и круглосуточной работы его величина не превышает 8 кВ/см. Вследствие этого
вакуумные пробои в ускорительных трубках практически отсутствуют. Катод,
представляющий из себя таблетку из LaB6
диаметром 6 или 10 мм, имеет косвенный подогрев. Для нагрева инжектора
требуется мощность порядка 50 Вт. Величина тока пучка регулируется температурой
катода, т.е. пушка работает в режиме отбора полного тока эмиссии. Для этой
цели предназначены блок управления инжектором, который располагается
под высоким потенциалом внутри высоковольтного электрода, и блок
стабилизации тока пучка - в стойке управления. Система регулирования
тока пучка обеспечивает его стабильность на уровне не хуже +/-0.3 мА, что
не превышает 1% от величины максимального тока пучка. Для проводки пучка
без потерь сквозь вакуумную систему и выпускное устройство на нижнем конце
ускорительной трубки установлена магнитная линза. Величина тока линзы при
изменении энергии регулируется автоматически, без участия оператора.
Вакуумная система
Рабочий вакуум в ускорительной трубке обеспечивается
2-мя магниторазрядными насосами с производительностью 400 л/с каждый. Предварительный
старт обеспечивается форвакуумным агрегатом АВЗ-20 с азотной ловушкой.
Как правило, этот агрегат используется лишь при первом старте после вскрытия
вакуумной системы ( сборка, смена фольги или катода). В дальнейшем, при
нормальной эксплуатации перерывы в работе продолжительностью до 2-х суток
не требуют форвакуумной откачки для старта магниторазрядных насосов. В
конструкции вакуумной системы использованы достаточно простые и технологичные
резиновые уплотнения, тем самым величина рабочего вакуума ограничивается
на уровне 10-4 10-5
Па. Этот вакуум является вполне приемлемым, поскольку не снижается
срок службы катода; рассеяние частиц на остаточном газе составляет
величину порядка 10-6 от тока пучка, т.е.
поток частиц на электроды трубки крайне незначителен и, следовательно,
ее электрическая прочность при работе с пучком не снижается.
Величина вакуума измеряется по току магниторазрядных
насосов. Система блокировок является двухступенчатой: при вакууме 5*10-4
Па на терминал выводится предупреждение для оператора, а при вакууме 10-3
Па ускоритель выключается. Вакуумный затвор (поз. 15 на рис. 2) позволяет
производить замену катода без потери вакуума в выпускном устройстве или
наоборот - замену фольги без разгерметизации ускорительной трубки.
Выпускное устройство с окном из фольги
Cхематический вид устройства для вывода пучка в атмосферу
через фольгу приведен на рис.8. Электронный пучок с помощью двух электромагнитов
сканирует по фольге в двух взаимно перпендикулярных направлениях.
Частоты сканирования находятся в соотношении 251/15, благодаря чему происходит
полное заполнение фольги и отсутствует наложение траекторий пучка.
С низкой частотой пучок сканирует вдоль фольги, а с высокой - поперек.
Частота сканирования вдоль фольги, если нет специальных технологических
требований, лежит в районе 50 Гц. Максимальный угол отклонения пучка составляет
30o.
Рис. 8: Схематический вид выпускного устройства с окном из фольги.
1 - электромагниты сканирования;
2- траектории пучка;
3 - фольга выпускного окна;
4- вентилятор обдува фольги;
5- подвижная мишень
Фольга охлаждается воздушной струей. Для этой
цели использован высоконапорный вентилятор, начальная скорость струи -
180 -200 км/час. При данной скорости средняя плотность тока на фольге не
превышает 100 mА/см2, т.е. максимальная величина выводимого тока - 70 мА/м.
Это примерно вдвое меньше, чем максимально-допустимое значение плотности
тока на фольге для этой скорости струи. Двукратный запас по плотности тока
через фольгу делает практически неограниченным срок ее службы.
На рис.9 приведено распределение линейной плотности
тока на расстоянии 50 мм от рамки выпускного окна. Под линейной плотностью
тока мы понимаем долю тока пучка, измеряемую длинным датчиком установленным
поперек выпускного окна. Величина поглощенной дозы в облучаемом материале
пропорциональна именно этому параметру. Обычно мы гарантируем неравномерность
линейной плотности тока не хуже +/- 10% на расстоянии не более 50 мм при
использовании 90% тока пучка. Потери пучка на хвостах распределения обусловлены
рассеянием электронов в фольге выпускного окна и воздухе.
Рис. 9: Типовое распределение линейной плотности тока под рамкой
выпускного окна.
Энергия электронов 1.5 МэВ.
Двухоконное выпускное устройство
Как уже упоминалось выше, максимальный ток, выводимый
через окно из фольги, составляет 70 мА/м. Применение радиационных
технологий в крупномасштабных промышленных производствах (очистка
отходящих газов ТЭЦ, металлургических производств; обработка сточных вод
и др.) требует увеличения единичной мощности ускорителей до уровня сотен
киловатт. Оптимальная энергия электронного пучка для большинства
этих применений лежит в диапазоне 0.7 - 1.5 МэВ. Следовательно для достижения
необходимой мощности требуется выводить в атмосферу электронный пучок
с током в сотни мА при относительно невысокой плотности тока, т.е. необходимо
увеличивать площадь выпускного окна. Применение опорных решеток в указанном
диапазоне энергий не рационально, т. к. их прозрачность составляет
80 - 90%. В случае использования "обычного" окна, его
ширина определяется механической прочностью фольги и не может превышать
7 - 10 см. Поэтому и было решено создать новое выпускное устройство с двумя
выпускными фольгами. Что позволило увеличить площадь выпускного окна вдвое
без существенного изменения габаритов всего устройства.
Новое выпускное устройство (Рис.10 а, б) разрабатывалось
на основе существующей конструкции с длиной выпускного
окна 1600 мм.
Рис. 10: Двухоконное выпускное устройство.
1 - магниторазрядные насосы,
2 - катушки и сердечники системы развертки пучка,
3 - фланец защитного цилиндра,
4 - защитный цилиндр, обдув фольги,
6 - рамка крепления фольги,
7 - выпускные фольги
В нем используются две фольги, расположенные параллельно.
Примерная траектория движения пучка показана на Рис.10в. Сканирование пучка
вдоль и поперек окон осуществляется с помощью стандартных
отклоняющих магнитов с отношением частот сканирования 15/251. Пучок перебрасывается
из одного окна в другое с помощью переключающего магнита. Моменты
переброса пучка синхронизированы с частотой сканирования вдоль окна
таким образом, что изменение полярности тока в переключающем
магните осуществляется при достижении максимального отклонения
пучка (на торцах окна). Для защиты элементов крепления фольги
и ее уплотнений от попадания прямого пучка в моменты переброса установлен
водоохлаждаемый цилиндр (Рис.10г), который одновременно является элементом
жесткости конструкции. Для улучшения вакуума установлено
два дополнительных магниторазрядных насоса. Они производят
откачку непосредственно из выпускного устройства.
Диафрагма на входе в выпускное устройство является
элементом вакуумного сопротивления. В результате образовалась простейшая
система дифференциальной откачки и вакуум в ускорительной трубке при работе
с пучком в 2 - 3 раза лучше, чем в объеме выпускного устройства.
При токе пучка 200 мА и энергии 0.8 МэВ вакуум в ускорительной трубке составляет
2*10-4 Па. Таким образом
большой ток пучка не оказывает влияния на вакуумные условия ускорительной
трубки. В процессе создания и наладки выпускного устройства требовалось
решить две главные проблемы:
-
обеспечить достаточно короткое время переброса пучка из одного окна в другое;
-
скорректировать неравномерность поперечного отклонения пучка вдоль
окна, обусловленную разностью длины пробега пучка от точки отклонения до
поверхности фольги, а также влиянием краевой фокусировки магнита продольного
отклонения, т.е. компенсировать искажения растра типа ``сабля''.
Минимальное время переброса пучка определяется толщиной
стенок выпускного устройства, т.к. переключающий магнит установлен
на внешней стороне выпускного устройства, и индуктивностью катушки
переключающего магнита. При толщине стенок раструба из нержавеющей
стали равной 3 мм минимальное время изменения полярности поля переключающего
магнита около 0.25 мсек, что обеспечивает потери пучка на уровне
3%.
Коррекция искажений растра осуществляется путем
задания необходимой формы тока в катушках переключающего магнита.
Источник питания переключающего магнита управляется от ЭВМ с помощью специальной
схемы на основе программируемых ЦАП, выполненных в стандарте КАМАК. Управление
системой переброса пучка полностью автоматизировано и осуществляется
от штатной ЭВМ в рамках существующей управляющей программы
ускорителя.
На данном устройстве выведен в атмосферу электронный
пучок с током 200 мА при энергиях 750 - 800 кэВ. Проведены
стендовые испытания устройства. Планируется длительная эксплуатация
устройства на опытно-промышленной установке.
Система управления
Система управления промышленным ускорителем в значительной
степени определяет его эксплуатационные характеристики, такие как надежность,
длительность непрерывной работы, ремонтно-пригодность, уровень квалификации
операторов. Оператор технологической установки общается с ускорителем с
помощью персонального компьютера. Система управления ускорителем включает
в себя
комплекс аппаратных и программных средств, охватывающий все узлы
ускорителя, требующие оперативного управления, контроля и диагностики.
Многофункциональность системы управления позволяет:
-
Автоматизировать процесс управления ускорителем. Алгоритмы, заложенные
в программу управления ускорителем, берут на себя задачи подготовки ускорителя
к работе (разгон преобразователя частоты, включение двигателя обдува фольги,
включение разверток и, при необходимости, технологического оборудования),
следят за состоянием блокировок, после включения ускорителя выводят на
заданный
-
режим энергию и ток электронного пучка;
-
Надежно стабилизировать основные параметры электронного пучка (энергия
электронов, ток пучка, размер и положение растра на фольге выпускного окна),
что обеспечивает высокое качество радиационной обработки;
-
Обеспечить в процессе работы ускорителя непрерывную диагностику высоковольтного
выпрямителя и самотестирование других систем ускорителя;
-
Синхронизировать работу ускорителя и технологического оборудования; при
этом возможна эксплуатация ускорителя в составе технологической линии в
полностью автоматизированном режиме, т.е. без участия оператора.
-
Предоставляет обслуживающему персоналу широкий набор команд для предварительного
задания режимов, тестирования и наладки ускорителя.
На рис. 3 показана функциональная схема связей ускорителя
ЭЛВ с системой управления.
Колонна высоковольтного выпрямителя, состоящая из
последовательно соединенных выпрямительных секций, через первичную обмотку
получает питание от преобразователя частоты ПЧ. Высокое напряжение измеряется
с помощью резистивного делителя энергии и сигнал подается на
вход системы стабилизации энергии ССЭ. Управляющее воздействие, пропорциональное
разности между запрашиваемой и реальной энергией, подается на обмотку
возбуждения ОВ преобразователя частоты ПЧ. Долговременная нестабильность
энергии лежит в пределах 1 - 2%.
Положительный вывод высоковольтного выпрямителя
соединен с "землей" через токоизмерительный резистор. Сигнал измерения
тока выпрямителя поступает на вход системы стабилизации тока ССТ. Сигнал
рассогласования с выхода этой системы через оптическую линию связи управляет
выходным напряжением блока управления инжектором БУИ, подающим ток в подогреватель
катода косвенного накала. Управление током пучка путем регулирования напряжения
накала повышает срок жизни катода, так как в этом режиме
подогреватель потребляет минимально необходимый ток. Нестабильность
величины тока пучка лежит в пределах 1% от его максимального значения.
Катушки системы формирования растра 4 (см. рис.3)
сканируют пучок по фольге выпускного окна 6. Система формирования
растра обеспечивает питание этих катушек пилообразным током, питание линзы,
автоматическую коррекцию положения (центровку) растра пучка на фольге выпускного
окна, отключение
ускорителя при снижении токов разверток или линзы ниже допустимой величины.
Центровка растра на фольге осуществляется стабилизатором положения пучка.
Сигнал положения пучка формируется путем аналоговой обработки сигнала токооседания
пучка (менее 1% полного тока) на стенки выпускного устройства, измеренного
с помощью резистора. Если растр не отцентрован на фольге, стабилизатор
положения пучка подаст корректирующий ток в соответствующую катушку коррекции
положения пучка.
Эти три системы (ССЭ, ССТ, СФР), дополненные системой
управления силовым питанием УСП, образуют нижний уровень системы управления
- уровень оконечных управляющих блоков. Все управляющие команды, задания
режимов и т.п. формируются на следующем уровне управляющей системы: модульной
информационно-измерительной системой МИИС.
В качестве модульной информационно-измерительной
системы используется секция КАМАК, включающая необходимый набор измерительных
и управляющих модулей, либо специализированная для ускорителей ЭЛВ управляющая
станция, выполненная на основе микропроцессора. Станция включает 64-х канальные
вводные и выводные регистры, 12-ти разрядный АЦП с 64-х канальным аналоговым
мультиплексором на входе, 16 12-ти разрядных ЦАП-ов.
На верхнем 3-м уровне системы управления находится
управляющий компьютер, загруженный пакетом специализированного программного
обеспечения. Программное обеспечение системы управления ускорителем обеспечивает
дружественный интерфейс с пользователем посредством системы динамических
меню, текстовой и графической визуализации режима работы ускорителя.
Силовое электропитание
Питание первичной обмотки ускорителя осуществляется
частотой 400 Гц от преобразователя частоты. До настоящего времени применялись
элктромашинные генераторы, привлекающие своей дешевизной, простотой и надежностью.
Единственным недостатком этих машин является относительно низкий
к.п.д. (65 - 80% в зависимости от мощности). Сейчас ведутся работы по переводу
силового электропитания на статические преобразователи частоты (как
тиристорные так и транзисторные). При этом ожидается увеличение общего
коэффициента полезного действия ускорителя до 85% для машин мощностью до
100 кВт и до 92 для более
мощных ускорителей.
Конденсаторная батарея, включаемая между первичной
обмоткой и преобразователем частоты, не только компенсирует реактивную
составляющую мощности ускорителя, но и трансформирует величину входного
сопротивления. Тем самым осуществляется согласование импедансов преобразователя
частоты и ускорителя.
Тиристорный ключ предназначен для быстрого (<
10 - 3 сек) отключения ускорителя в случае аварийных ситуаций, как-то:
пробой вакуумной или газовой изоляции, уменьшение тока разверток или линзы,
отключение охлаждения фольги.
Все оперативные переключения в силовом электропитании
производятся управляющей программой без участия оператора.
Устройства для вывода в атмосферу концентрированного
электронного пучка
При выводе электронного пучка в атмосферу через фольгу
максимальная плотность тока не превышает 100 мкА/см2.
Однако целый ряд пучковых технологий требуют больших плотностей
тока. Для этого разработаны устройства для вывода в атмосферу сфокусированного
электронного пучка. Плотность тока электронного пучка на выходе из этих
устройств может достигать 10 А/см2,
а плотность мощности - 10 МВт/см2. Пучок
ыводится
через систему отверстий в диафрагмах. Отверстия прожигаются
самим пучком и их диаметр лежит в пределах 1 - 2 мм. Рабочий
вакуум в ускорительной трубке обеспечивается непрерывно работающими
насосами системы дифференциальной откачки. Разработаны 2 варианта
ускорителей с подобным выпускным устройством.
В первом пучок фокусируется двумя магнитными линзами.
Этот вариант используется в ускорителе ЭЛВ-6 с максимальной
мощностью 100 кВт при энергии 1.5 МэВ. Схематически выпускное
устройство показано на рис.11. Ниже мы кратко поясним суть его работы.
Электронный пучок после ускорительной трубки фокусируется магнитной линзой.
В кроссовере линзы расположена диафрагма. Далее, расширившись, пучок попадает
во вторую линзу, с меньшим фокусным расстоянием. В кроссовере этой
линзы расположены две диафрагмы. Газ, натекающий сквозь отверстия
в диафрагмах, эвакуируется вакуумными насосами. Максимальная величина выводимого
тока пучка ограничивается пульсациями ускоряющего напряжения, которые
приводят к увеличению отверстий в диафрагмах и допустимы на уровне 2-3%.
Описываемым устройством для вывода сфокусированного электронного пучка
могут быть укомплектованы ускорители типа ЭЛВ-2, ЭЛВ-3, ЭЛВ-4 и ЭЛВ-6.
Рис.11: Схематический чертеж выпускного устройства.
1 - Магнитные линзы
2 - диафрагмы
3 - Вакуумопроводы
4 - магниты сканирования
5 - примерный вид огибающей пучка
Для экспериментов, где не требуются максимально
высокие плотности мощности, устройство оборудовано электромагнитами сканирования
в двух перпендикулярных направлениях, при этом пучок отклоняется непосредственно
в воздухе. Система сканирования также позволяет обеспечивать необходимую
конфигурацию дозного поля (рис. 12) в соответствии с требованиями технологии.
Рис. 12: Возможные конфигурации полей облучения
Другой способ уменьшения диаметра пучка
в выходных диафрагмах заключается в компрессии пучка адиабатически
нарастающим продольным магнитным полем. Этот метод использован в ускорителе
"Факел" мощностью 500 кВт. Основное преимущество адиабатической компрессии
- малая чувствительность размера пучка к изменениям энергии электронов,
что особенно важно при создании ускорителей мощностью сотни
кВт, где проблема пульсаций и нестабильностей ускоряющего напряжения достаточно
актуальна. Ускорительная трубка и выпускное устройство расположены на одной
оси, а магнитное поле плавно нарастает от 100 Гс на катоде
до 10000 Гс в районе выходных диафрагм. При этом размер пучка
уменьшается обратно пропорционально корню квадратному из величины
магнитного поля. Продольное магнитное поле создается системой
соленоидов и катушек. Для увеличения поля непосредственно в районе выходных
диафрагм применяется стальной концентратор. Схематически выпускное
устройство данного типа показано на рис.13. Мощность, потребляемая
магнитной системой - 50 кВт. Вакуумная система состоит
из диафрагм и трубок повышенного вакуумного сопротивления, она встроена
внутрь магнитной системы. На рис.13a, 13b показаны раздельно магнитная
и вакуумная системы ускорителя.
Рис.13: Устройство для вывода в атмосферу адиабатически сжатого интенсивного
электронного пучка:
1 - котел
2 - высоковольтный газовый фидер
3 - соединяющий устройство с источником ускоряющего напряжения
4 - высоковольтный электрод, внутри которого расположены элементы
системы питания инжектора
5, 6 - соленоиды, создающие нарастающее продольное магнитное поле
7 -катушки магнитной системы с встроенной внутрь системой
дифференциальной откачки
Рис.13а - Вакуумная система выпускного устройства с
адиабатической компрессией пучка.
1,2 - трубки повышенного вакуумного сопротивления,
3,5 - диафрагмы,
4- вакуумопроводы
Рис.13б - магнитная система выпускного устройства.
1- катушки,
2- магнитопроводы,
3- концентратор,
4- охлаждаемый экран
На первый взгляд кажется, что эффективность
описываемого выпускного устройства ниже по сравнению с устройством, в котором
пучок выводится в атмосферу через фольгу. Однако потери энергии электронов
в 50 mм Тi фольге составляют 35~ кВ, кроме того небольшая часть
тока пучка (1-2%) попадает на стенки выпускного устройства. Это приводит
к тому, что, если бы мы стали выводить пучок с током 1 А в атмосферу через
фольгу, то потери мощности пучка составили бы величину, близкую к
50 кВт. Т.е. уже при токе 1 А эффективность
устройства с адиабатической компрессией пучка не ниже, чем у фольгового
выпускного устройства. С увеличением тока
пучка потери при выводе через фольгу увеличиваются пропорционально
току, а в устройстве с адиабатической компрессией остаются
постоянными. Максимальный выведенный ток составил 0.8 А.
Системы кольцевого и двустороннего облучения
Для расширения тезнологических возможностей ускорителей
разработаны и изготавливаются системы двустороннего и кольцевого облучения,
обеспечивающие эффективное использование пучка, выведенного в атмосферу
через фольгу, для облучения кабелей или труб диаметром до 60 мм, а также
двустороннее облучение
лент шириной до 300 мм. Электроны, выведенные через фольгу, под действием
поворотных магнитов изменяют направление своего движения и производят всестороннее
облучение обьекта, как это изображено на рис.14.
Рис. 14: Система кольцевого облучения.
1 - траектории электронов,
2 - выпускное окно,
3 - поворотные магниты
Аналогично работает и устройство для двустороннего
облучения. Системы эффективно работают при энергии электронов выше 1.2
МэВ. При низких энергиях они также работоспособны, однако снижается коэффициент
использования пучка из-за рассеяния электронов в фольге и воздухе. Система
поставляется как дополнительное оборудование к типовой машине и легко
устанавливается и снимается при смене технологии.
Транспортная система
Институт поставляет подпучковое оборудование для облучения
пленки, кабеля или трубок. На рис.15 показана транспортная система, позволяющая
производить одно- или дву- стороннее облучение кабеля или трубок. Система
может работать как в автономном режиме, так и быть управляемой от ускорителя
или, наоборот, управлять ускорителем.
Основные ее параметры:
| скорость протяжки |
0.1....400 |
м/мин |
| диаметр кабеля или трубки |
1...15 |
мм |
| потребляемая мощность |
2.5 |
кВт |
Рис. 15: Общий вид транспортного устройства.
1 - облучаемый объект, 2 - направляющие ролики, 3 - барабаны, 4 - привод
Ускорители с локальной радиационной защитой
Ускорители, энергия которых не превышает 1.0 МэВ, могут
комплектоваться местной радиационной защитой. На рис. 16, 17 показаны ускоритель
ЭЛВ-мини и ЭЛВ-0.5 в локальной защите. Наличие локальной защиты естественно
сокращает площади, требуемые для ускорителя и уменьшает капитальные затраты
в большинсьве случаев. Однако габариты, вес защиты, особенности ее конструкции
определяются не только размерами ускорителя, но и подпучкового оборудования.
Поэтому вопрос о целесообразности применения локальной защиты требует комплексного
подхода. Тем не мене отметим, что имеющийся опыт позволяет
сконструировать локальную радиационную защиту практически для любого
электронно-лучевого технологического процесса.
Рис. 16: Ускоритель ЭЛВ-мини в локальной защите.
1 - ускоритель,
2 - вакуумные насосы,
3 - выпускное устройство
Рис. 17: Ускоритель ЭЛВ-0.5 в локальной радиационной защите.
1- сосуд, 2 - выпускное устройство, 3 - вакуумные насосы, 4 - элементы
защиты, 5 - конвейер, 6 - ввод кабелей управления и питания, азотная камера
( для тех процессов, где требуется облучение в инертной среде)
Ускорители с мощностью выведенного пучка в
сотни киловат
Существующие ускорители имеют мощность главным образом
до 100 кВт и не могут удовлетворить потребность энергоемких радиационных
технологий (главным образом экологических), где необходимы ускорители
с суммарной мощностью электронного пучка в единицы и десятки мегаватт.
Для создания подобных комплексов требуются модули с единичной
мощностью, как минимум, сотни киловатт.
В ИЯФ СО РАН разрабатывается новое поколение высоковольтных
ускорителей, имеющих требуемую мощность выведенного пучка. Представителями
нового семейства ускорителей являются: ускоритель ЭЛВ-6М с энергией 0.75
- 1.0 МэВ при мощности 160 кВт, ускоритель ``Факел''
с энергией 0.5 - 0.8 МэВ при
мощности 500 кВт и ускоритель ЭЛВ-12 с мощностью 400 кВт при энергии
0.6 - 1.0 МэВ.
Ускоритель ЭЛВ-6М
Схематический чертеж ускорителя ЭЛВ-6М приведен
на рис.18а. Конструктивно он напоминает ускоритель ЭЛВ-6, в
котором две выпрямительные колонны работают параллельно на общую нагрузку.
Колонны расположены вертикально: одна над другой. Ускорительная трубка
находится в нижней колонне. Каждая из колонн состоит из 38 выпрямительных
секций, соединенных последовательно-параллельно, как показано
на рис.18б. Отметим, что подобная схема соединений допускает
работу без фильтрующих конденсаторов
в выпрямительной секции, что и показано на рис.18.
Рис.18а: Схематический чертеж ускорителя ЭЛВ-6М
Рис.18б - Электрическая схема ускорителя ЭЛВ-6М.
1- котел;
2,3- первичные обмотки;
4,5- колонны выпрямительных секций;
6- ускорительная трубка;
7- выпускное устройство
В этом ускорителе применена новая схема питания первичных
обмоток ускорителя: обмотки подключены к разным фазам трехфазного
преобразователя частоты и выходные напряжения каждой из колонн имеют сдвиг
по фазе. Это дает дополнительное сглаживание пульсаций выходного
напряжения. Для этого ускорителя специально разработано и на нем
же опробовано описанное выше двухоконное выпускное устройство для вывода
в атмосферу токов до 200 мА. Ускоритель был изготовлен и успешно испытан.
После завершения строительства опытной установки электронно-лучевой очистки
газов на Славянской ГРЭС он будет туда отправлен.
Ускоритель ``Факел''
В ускорителе ``Факел'' высоковольтный
выпрямитель размещен в отдельном котле и соединяется с трубкой газовым
фидером.
Рис. 19: Ускоритель ``Факел''.
1- источник ускоряющего напряжения,
2- газовый фидер,
3- система управления инжектором,
4- ускорительная трубка,
5,6,7- система формирования растра и вакуумная система
Выпрямитель состоит из 2-х параллельных колонн с
выводом высокого напряжения посередине. Секции в каждой из колонн соединены
последовательно-параллельно и фильтрующие конденсаторы в них отсутствуют.
Первичная обмотка с центральным магнитопроводом расположена внутри колонны
высоковольтного выпрямителя. Рабочая частота ускорителя - 1000~ Гц и питается
он от преобразователя ППЧВ-500. Схематически ускоритель показан
на рис.19. Он был оборудован устройством для вывода в атмосферу адиабатически
сжатого электронного пучка, которое было описано выше.
Максимальные параметры полученные на этом
ускорителе: ток пучка - 0.8 А при энергии 0.5 МэВ, энергия
- 0.8 МэВ при токе 0.5 А, мощность пучка - 500 кВт (0.7 МеВ x 0.7А).
Ускоритель ЭЛВ-12
Ускоритель ЭЛВ-12 объединяет в себе конструктивные
решения, проверенные в процессе разработки предыдущих ускорителей. Он показан
на рис.20. Высоковольтный источник питания, состоящий из 2 параллельных
колонн расположен в отдельном котле и соединяется газовыми фидерами с 2-мя
ускоряющими
модулями.
Рис. 20: Общий вид ускорителя ЭЛВ-12 (версия с тремя ускорительными
трубками)
Выпрямительные секции в колоннах соединены последовательно-параллельно
и не содержат фильтрующих конденсаторов, так как выходная емкость,
обусловленная наличием газовых фидеров достаточно велика, а
рабочая частота повышена до 1000~ Гц. Для этого ускорителя разработаны
новые катушки вторичной обмотки. Они имеют больший
диаметр и витковое напряжение увеличено до 20 В/виток. Питание планируется
от тиристорного преобразователя частоты. Ускоряющий модуль представляет
собой ускорительную трубку, расположенную в отдельном котле,
и состыкованное с ней двухоконное выпускное
устройство. Кроме того одна трубка может быть расположена и внутри
котла ускорителя. Ток пучка в каждом из модулей регулируется независимо,
что позволяет в широких пределах регулировать распределение мощности поглощенной
дозы. Максимальная величина тока отдельного модуля - 200 мА, при этом
максимальный полный ток ускорителя -400 мА. В принципе,
проектируемый выпрямитель, если будет потребность, сможет обеспечивать
мощность до 1 МВт, при этом число излучателей будет увеличено. Основное
назначение ускорителя ЭЛВ-12 - работа в установках электронно-лучевой очистки
газов и сточных вод. В настоящее время ускоритель находится
в изготовлении.
Применение ускорителей ЭЛВ
|
Тип технологии
|
|
Страна |
|
Число ускорителей |
|
Модифицирование полимерных изделий
|
|
|
|
|
| Модифицирование полимерной изоляции для производства термостойких
проводов и кабелей сечением 0.5 - 120 мм2
с производительностью до 200 м/мин |
|
Россия
Белорусия
Украина
Чехия
Китай |
|
5
5
5
1
9 |
| Производство термоусаживаемых трубок, пленок и лент с производительностью
до 1000кГ/час |
|
Россия
Молдавия
Китай |
|
3
2
2 |
| Производство искусственных кож и резинотехнических изделий с производительностью
до 1000 м2/час |
|
Россия |
|
4 |
| Производство препрега и геля |
|
Россия |
|
2 |
| Отверждение лакокрасочных покрытий на различных основах
для стройиндустрии с производительностью до 500 м2/час |
|
Россия
Узбекистан
Казахстан |
|
2
1
1 |
|
Технологии для экологических целей
|
|
|
|
|
| Обработка сточных вод |
|
Россия |
|
4 |
| Очистка отходящих газов тепловых станций от окислов серы
и азота производительностью до 20000м3/час |
|
Россия
Польша
Япония |
|
1
2
2 |
|
Другие применения
|
|
|
|
|
| Поверхностная наплавка и закалка металлов, производство
катализатора синтеза аммиака и спецкерамики, развитие высокотемпературных
химических технологий |
|
Россия |
|
5 |
| Дезинфекция зерна с производительностью до 200 Т/час |
|
Россия
Украина |
|
1
2 |
| В исследовательских целях |
|
Россия
Болгария
Германия
Ю.Корея |
|
5
1
1
1 |
Всего более 60 ускорителей работают в технологических линиях
и исследовательских центрах.
Данные на конец 1996г.
Заключение
Наработанный опыт проектирования и эксплуатации
ускорителей серии ЭЛВ позволяет предложить покупателю машины, не только
не уступающие по своим параметрам лучшим мировым образцам, но и во
многом превосходящие их.
Вверх
Технологии на базе электронных пучков
08.10.98